控制元件 — ASC系列流量控制閥
符號

訂貨型號

技術參數
| 型號 | ASC -06 | ASC -08 | ASC-10 | ASC-15 | |
| 工作介質 | 空氣 | ||||
| 接管口徑 | 1/8" | 1/4" | 3/8" | 1/2" | |
| 工作壓力范圍 | 0 ?1.0MPa | ||||
| 工作溫度范圍 | -5~60℃ (未凍結) | ||||
| 重量(kg) | |||||
| 主要配件材質 | 本體 | 鋁合金 | |||
| 密封圈 | NBR | ||||

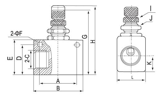
| 型號 | A | B | C | D | E | F | G | H | K | L |
| ASC100-06 | 22 | 32 | 1/8 | 18 | 23 | 4.3 | 45.7 | 52.3 | 10 | 18 |
| ASC200-08 | 26 | 36 | 1/4 | 22 | 27 | 4.3 | 49.7 | 56.3 | 12 | 18 |
| ASC300-10 | 30 | 40 | 3/8 | 24 | 29 | 4.3 | 51.7 | 58.3 | 13 | 12 |
| ASC300-15 |